Patterson power cell
The Patterson power cell is a cold fusion device invented by chemist James A. Patterson,[1] which he claimed created 200 times more energy than it used.[2] Patterson claimed the device neutralized radioactivity without emitting any harmful radiation.[1] Cold fusion was the subject of an intense scientific controversy in 1989, before being discredited in the eyes of mainstream science.[3][4] Physicist Robert L. Park describes the device as fringe science in his book Voodoo Science.[1]

Company formed
In 1995, Clean Energy Technologies Inc. was formed to produce and promote the power cell.[6]
Claims and observations
Patterson variously said it produced a hundred or two hundred times more power than it used.[2][7] Representatives promoting the device at the Power-Gen '95 Conference said that an input of 1 watt would generate more than 1,000 watts of excess heat (waste heat).[8] This supposedly happened as hydrogen or deuterium nuclei fuse together to produce heat through a form of low energy nuclear reaction.[1] The by-products of nuclear fusion, e.g. a tritium nucleus and a proton or an 3He nucleus and a neutron, were not detected in any reliable way, leading experts to think that no such fusion was taking place.[3]
It was further claimed that if radioactive isotopes such as uranium were present, the cell enables the hydrogen nuclei to fuse with these isotopes, transforming them into stable elements and thus neutralizing the radioactivity. It was claimed that the transformation would be achieved without releasing any radiation to the environment and without expending any energy.[1] A televised demonstration on June 11, 1997, on Good Morning America provided no proof for the claims.[1] As at 2002, the neutralization of radioactive isotopes has only been achieved through intense neutron bombardment in a nuclear reactor or large scale high energy particle accelerator, and at a large expense of energy.[1]
Patterson has carefully distanced himself from the work of Fleischmann and Pons and from the label of "cold fusion", due to the negative connotations associated to them since 1989.[3][9] Ultimately, this effort was unsuccessful, and not only did it inherit the label of pathological science, but it managed to make cold fusion look a little more pathological in the public eye.[10] Some cold fusion proponents view the cell as a confirmation of their work, while critics see it as "the fringe of the fringe of cold fusion research", since it attempts to commercialize cold fusion on top of making bad science.[11]
In 2002, John R. Huizenga, professor of nuclear chemistry at the University of Rochester, who was head of a government panel convened in 1989 to investigate the cold fusion claims of Fleischmann and Pons, and who wrote a book about the controversy, said "I would be willing to bet there's nothing to it", when asked about the Patterson Power Cell.[1]
Replications
George H. Miley is a professor of nuclear engineering and a cold fusion researcher who claims to have replicated the Patterson power cell. During the 2011 World Green Energy Symposium, Miley stated that his device continuously produces several hundred watts of power.[12] Earlier results by Miley have not convinced researchers.[3]
On Good Morning America, Quintin Bowles, professor of mechanical engineering at the University of Missouri–Kansas City, claimed in 1996 to have successfully replicated the Patterson power cell.[13] In the book Voodoo Science, Bowles is quoted as having stated: "It works, we just don't know how it works."[1]
A replication has been attempted at Earthtech, using a CETI supplied kit. They were not able to replicate the excess heat.[14]
References
- ^ a b c d e f g h i Park, Robert L. Voodoo Science: The Road from Foolishness to Fraud. Oxford: Oxford University Press, 2002, p. 114–118. Retrieved December 5, 2007.
- ^ a b Simon, Bart (2002). Undead science: science studies and the afterlife of cold fusion. Rutgers University Press, page 159. ISBN 0-8135-3154-3, ISBN 978-0-8135-3154-0
- ^ a b c d Voss, David. "Whatever happened to cold fusion?" Archived January 12, 2012, at the Wayback Machine, Physics World, March 1, 1999. Retrieved December 5, 2007.
- ^ Simon, Bart (2002) Undead Science; Park, Robert L. (2002) Voodoo Science
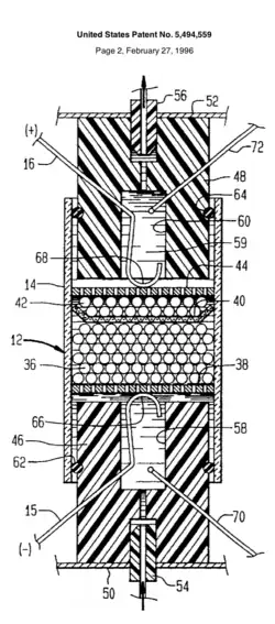
- ^ U.S. patent 5,494,559 System for electrolysis. February 27, 1996
- ^ Bishop, Jerry E., A bottle rekindles scientific debate about the possibility of cold fusion, Wall Street Journal, January 29, 1996
- ^ Park, Robert L. (2002) Voodoo Science p. 11-12, claimed 200 times in 1996 ABC's Good Morning America
- ^ Platt, Charles (November 1998). "What If Cold Fusion Is Real?". Wired. Vol. 6, no. 11.
- ^ Bart Simon (2002) Undead Science pp. 160–164, Park, Robert L. (2002) Voodoo Science p. 12, 115
- ^ Bart Simon (2002) Undead Science p. 163-164
- ^ Bart Simon (2002) Undead Science p. 164
- ^ Xiaoling Yang, George H. Miley, Heinz Hora. "Condensed Matter Cluster Reactions in LENR Power Cells for a Radical New Type of Space Power Source" Archived July 14, 2012, at archive.today. American Institute of Physics Conference Proceedings, March 16, 2009, vol. 1103, pp. 450–458. The conference was "2011 World Green Energy Symposium". October 19–21, 2011
- ^ Good Morning America (Television Show). United States: ABC News. January 7, 1996.
- ^ "Search for Evidence of Nuclear Transmutations in the CETI RIFEX Kit" (PDF). Archived from the original (PDF) on August 12, 2012. Retrieved May 30, 2013.
Further reading
- Bailey, Patrick and Fox, Hal (October 20, 1997). A review of the Patterson Power Cell. Retrieved November 19, 2011. An earlier version of this paper appears in: Energy Conversion Engineering Conference, 1997; Proceedings of the 32nd Intersociety Energy Conversion Engineering Conference. Publication Date: Jul 27 – Aug 1, 1997. Volume 4, pages 2289–2294. Meeting Date: July 27, 1997 – January 8, 1997. Location: Honolulu, HI, USA. ISBN 0-7803-4515-0
- Ask the experts, "What is the current scientific thinking on cold fusion? Is there any possible validity to this phenomenon?", Scientific American, October 21, 1999,(Patterson is mentioned on page 2). Retrieved December 5, 2007